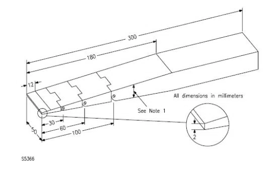
IEC 62368 Wedge Probe is used for testing access to document shredders. Conform to the UL60950 Figure NAF.2 and NAF.3 (S5366), IEC62368 figure V.4 and for paper document shredders, shall be inserted into each opening in mechanical enclosure. Three steps of joints are with it, wedge-shaped IEC 62368 Wedge Probe for shredders. Made entirely of stainless steel. All parts precision machined.
Best Service and advantages
High quality, Long life time and Competitive price
Best after service:Professional R&D and technical team support,can make OEM & ODM order,and also can provide overall laboratory solutions,and good service.
Strict quality control,more than 24hours before shipping and with 1year warrant
Short lead time and fast delivery
FAQ
1.How about your test equipment quality?
1) .We are leading testing equipment manufacturer in China with exporting experience for over 20 years.
2).All product we supply to customer are calibrated by ISO 17025 accredited lab and ILAC certificate is provided
2) .We are audited testing equipment supplier of Bureau Veritas Group,TUV Rheinland,TUV Product Service,
UL Laboratory,SGS,Intertek etc.
2. What about the transportation?
Various transportation ways is available
We have over 20 years exportation experience and will do our best to save clients' shipping cost.
3.How about after-sale service?
A professional A/S engineer team with 20 years experience
One year guarantee period and life long term repair service
A/S feedback are provided within 24 hours.







